- 雷達液位計料位計系列產品
- 壓力/液位/差壓/密度變送器
- 液位儀表系列
- 流量儀表系列
- 物位儀表系列
- 液位/溫度/壓力/流量-報警儀
- PLC/DCS自動化控制監控系統
- GPRS無線遠傳裝置
- 有紙/無紙記錄儀系列
- 溫度儀表系列
- 分析儀|檢測儀|校驗儀系列
全國銷售熱線:400-9280-163
電話:86 0517-86917118
傳真:86 0517-86899586
銷售經理:1560-1403-222 (丁經理)
??? ? ? ? 139-1518-1149 (袁經理)
業務QQ:2942808253 / 762657048
網址:http://m.ccsso.com.cn
電話:86 0517-86917118
傳真:86 0517-86899586
銷售經理:1560-1403-222 (丁經理)
??? ? ? ? 139-1518-1149 (袁經理)
業務QQ:2942808253 / 762657048
網址:http://m.ccsso.com.cn
無線遠程明渠流量計矩形堰閘在農田生態排水溝渠中的工程應用
發表時間:2019-08-27 ??點擊次數:887? 技術支持:1560-1403-222
明渠流量計矩形堰閘農田生態溝渠無線遠程監測云服務農田溝渠預處理構筑物是生態溝渠攔截系統的重要組成部分,它在蓄積排水、調節適宜水位、延長農田排水在溝渠中的停留時間,促進溝渠內水生植物良好生長,吸附、吸收、降解農田排水中所攜帶的COD、氨氮、總磷等污染物方面具有顯著功效。然而,在農田水利工程常規排水系統中,存在農田排水溝渠排水量自動監控水平低、無法滿足上游來水流速的水閘控制和下游農田溝渠預處理構筑物水體停留時間設計的要求。
針對目前農田排水溝渠排水量自動監測水平低下的現狀,運用流體力學、工程學及信息控制技術,設計了一種基于阿里云服務模式下無線遠程監測的明渠流量計矩形堰閘,實現了堰閘與云端的數據交換。本項目運用流體力學、工程學及信息控制技術,在農田排水溝渠預處理構筑物前,設計了一種基于阿里云服務模式下無線遠程監測的明渠流量計矩形堰閘,實現了液位、瞬時流量、累積流量等運行狀態數據采集,實現了明渠流量計矩形堰閘與云端的數據交換,并確定了明渠流量計矩形堰閘的技術參數,有效解決了農田水利工程常規排水系統中排水量自動監測水平低下、操作不便等問題。
根據農田生態排水溝渠現場示范和工藝試驗,其測量精度滿足要求,有利于溝渠生態凈化裝置吸收、吸附、降解水體中COD、氨氮、總磷等污染物,為類似工程的應用提供了參考。
1 明渠流量計矩形堰閘監測站設計
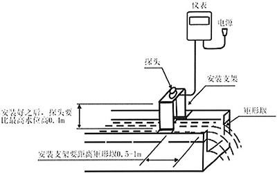
為實現一體化設計,將太陽能板、明渠流量計、控制箱、矩形堰閘集成在一個監測站內,采用太陽能板綠色電源,為動力系統和數據采集傳送等模塊提供電能。使用低功耗GPRS 無線遠傳系統,完成數據或指令的遠程傳送,在云服務器上建立數據中心,存儲明渠流量計基本數據、實時數據和控制數據,設置電腦和手機用戶訪問接口,實現堰閘的實時監測、智能運行等功能。無線通訊模塊、嵌入式控制板等封裝在控制盒內。矩形堰閘由支墩、安裝支架、法蘭、擋板、流量計等組成。矩形堰閘安裝在渠道上,矩形堰閘擋板豎直,安裝在渠道中軸線上,儀表探頭安裝在距離矩形堰閘板0. 5m 的位置。如圖1 所示。
2 試驗示范與應用
為驗證明渠流量計矩形堰閘量水精度,在四川省雙流區黃水鎮紅橋小區示范基地農田生態型排水溝開展試驗。示范點農田生態型排水溝渠長度約150m,溝頂寬1. 7m,溝深1. 0m,淤積深度0. 3m。考慮到溝渠內zui大流量大于40L /s、渠道內水的流態、能否形成自由流、堰口寬度超過了
圖1 明渠流量計矩形堰閘監測站設計布置1. 00m 等因素,根據現場改造的標準矩形堰b、B、p 值,上游溝渠寬度B = 1. 50m,堰口寬度b =1. 00m,液位的高度h = 0. 50m,堰壁的高度p =0. 20m,選用FX-OC-1. 5AAN-DCSPR0TSS1PL10-DBC 明渠流量計。
圖2 矩形堰構造
2. 1 明渠流量計精度分析本項目明渠流量計儀表是以超聲波技術與現代數字微處理技術相結合,專為野外應用而設計,
圖3 矩形堰閘安裝示意
圖4 明渠流量計矩形堰閘現場效果
可全面實現無人值守、安裝簡單、性能穩定、精度高、內置GPRS 通訊模塊可直接與信息中心通訊,實現數據的無線遠距離傳輸,直接測量溝渠內水位高度。
超聲波傳感器根據安裝在農田生態排水溝渠上的矩形堰閘,測量堰閘內的水位,按照相應的水位—流量關系,自動測算出水位對應的流量。流通順暢的溝渠流量越大,液位越高; 流量越小,液位越低。流量與水位之間的對應關系,受溝渠內坡比降和表面的糙度影響。因此,在溝渠內安裝矩形堰閘,可產生節流作用,固定溝渠內流量與水位的對應關系。
在明渠流量計的正下方位置,通過人工用水尺觀測溝渠內水位的高低,作為人工觀測數據。在同一時刻獲取FX - OC - 1. 5AAN - DCSPR0TSS1PL10-DBC 明渠流量計水位自記數據。
從下述自記數據分析結果中可以看出,明渠流量計的數據與人工觀測的數據相對誤差在0 ~ 7. 5%范圍內,均在<10%的控制范圍內,表明FX-OC-1. 5AAN-DCSPR0TSS1PL10-DBC 明渠流量計自動測量的精度滿足要求。
2. 2 低功耗GPRS 無線遠傳系統( 堰閘遠程測控系統)
2. 2. 1 主要功能
為實現堰閘流量實時監測,發送數據至云端數據庫,借助開發的GPRS 低功耗后臺服務器( GPRS 無線板卡,安裝于阿里云服務器) ,與明渠流量計儀表組合,實現隨時訪問采集儀表的數據并上傳至后臺服務器,可視化呈現監測點實時及歷史數據。采用太陽能板綠色供電方式。
2. 2. 2 服務器平臺信息查詢
后臺服務器集成多款儀表為一體,同時可做微信、網頁的交互界面。上半部分為儀表所采集到的數據,下半部分為無線板卡配置的基本信息,右邊為服務器的設置界面( 包括啟動軟件、關閉軟件、參數設置、退出軟件等) 。服務器軟件可以接收到現場發送過來的水位信息,在屏幕上顯示并保存起來。如圖5 所示。
( 1) 明渠流量計采集信息: 本試驗儀表觀測上傳的液位值、瞬時流量、累積流量、板卡電壓及儀表安裝位置等信息。流量是由儀表計算而來,再上傳至后臺服務器。
( 2) GPRS 板卡參數設置: 當數據能上傳至后臺服務器的同時,GPRS 板卡的設置參數也會同步到后臺服務器。因此,可以在后臺服務器操作,修改板卡參數并勾選“允許下傳修改板卡參數”, 即可實現遠程修改板卡時間等參數。不可修改端口號、域名/IP、儀表類型和儀表地址。
( 3) 標準工作狀態: 由用戶自己確定每多少分鐘測量一次水位,測量完畢將水位值保存在主機中,同時上傳一次,如果遇到服務器無應答或者網絡狀態不理想,則等到下一次傳輸的時候再上傳。主機中可以存儲5 萬條測量數據。
( 4) 參數設置: 主機位采集間隔300s,預警位采集間隔10s,報警位采集間隔10s,正常上傳間隔300s,預警位上傳間隔10s,報警位上傳間隔10s,預警位6m,報警位9m。數據采集上傳間隔時間、報警時間均可設置修改。
( 5) 記錄查詢: 可對每款儀表的不同DTU 編號進行詳細查詢、數據表單備份; 也可對單獨一款儀表的數據進行備份( 可人工備份,系統也可自動備份) 、備份表單查詢( 備份過的文件可直接通過服務器進行查詢) 。
( 6) 服務器/App 權限: 此界面有三項功能:
①修改板卡的端口號及設置表單自動轉存( 注:為了防止后臺服務器由于接收的數據過多而運行緩慢,設置自動轉存數,當接收數據達到一定數量便會自動備份到電腦存儲盤并刪除服務器數據以提供更快的運行空間) ; ②使用后臺服務器的同時也可使用手機App 接收數據,可在此界面對手機App 的登錄用戶名及密碼進行設置管理( 注:使用手機App 的前提是后臺服務器必須開啟,因為手機App 只有訪問的權限) ; ③微信交互服務端口號: 當需要網址訪問或者微信訪問后臺服務器時,需將端口號設置成80。
( 7) 通訊判斷: 數據正常采集及上傳、數據異常( GPRS 數據上傳任務失敗) 。
2. 3 應用效果分析為了探究農田生態排水溝渠預處理系統在有堰閘運行管理模式下對農田面源污染物氮磷的去除效果,綜合監測數據分析,雨污收集池底泥中氨氮含量為9. 52mg /kg,總磷5679. 52mg /kg。該示范區通過工程建設預計年削減底泥污染物排放量指標為: COD 7. 0t /a; 氨氮1. 6t /a; 總磷1. 2t /a。農田溝渠污水回用率按45%計算,新增凈水能力7. 173 萬m3。
從服務器監測平臺采集數據分析,不同排水強度下生態排水溝渠受矩形堰閘的攔截影響,致使生態溝渠內水體流速降低,水位雍高,延長了水流的實際平均停留時間,增加了水流與預處理裝置、生物菌劑、植物充分接觸的時間,有效容積比得到提高。間接表明了污染物在生態溝渠系統內部的轉移輸送、停留時間及被降解的能力。2018年11 月9 日至12 月26 日的觀測數據表明:COD、氨氮、總磷進口濃度變化率分別為68. 42%、81. 81%、80. 85%; 出口濃度變化率分別為3 結語基于云服務模式下的無線遠程訪問明渠流量計矩形堰閘太陽能板綠色電源監測站,成功地在農田生態排水溝渠中得到運用,有效地解決了農田排水溝渠排水量自動監測水平低下、監測設備測量精度不高、性能不穩定、操作不便、功耗大等問題,實現了堰閘與云端的數據交換,監測的數據相對誤差在0 ~ 7. 5%范圍內,能較好地實現實時監測、智能運行,運維成本低,適合小型農田灌溉溝渠輸排水系統的**化計量。
安裝矩形堰閘的生態溝渠,水體流速降低,水流停留時間延長,水流在農田溝渠預處理構筑物和溝渠內與植物充分接觸,有效容積比得到提高,對污染物質起到了較好的截留凈化效果,對農田溝渠再生水質資源化利用工程的建設提供了一種新途徑。
上一條:國內儀器儀表行業2019年1-5月的經濟運行狀態分析
下一條:浮球液位計和浮球液位控制器、浮球液位開關三者之間的區別
針對目前農田排水溝渠排水量自動監測水平低下的現狀,運用流體力學、工程學及信息控制技術,設計了一種基于阿里云服務模式下無線遠程監測的明渠流量計矩形堰閘,實現了堰閘與云端的數據交換。本項目運用流體力學、工程學及信息控制技術,在農田排水溝渠預處理構筑物前,設計了一種基于阿里云服務模式下無線遠程監測的明渠流量計矩形堰閘,實現了液位、瞬時流量、累積流量等運行狀態數據采集,實現了明渠流量計矩形堰閘與云端的數據交換,并確定了明渠流量計矩形堰閘的技術參數,有效解決了農田水利工程常規排水系統中排水量自動監測水平低下、操作不便等問題。
根據農田生態排水溝渠現場示范和工藝試驗,其測量精度滿足要求,有利于溝渠生態凈化裝置吸收、吸附、降解水體中COD、氨氮、總磷等污染物,為類似工程的應用提供了參考。
1 明渠流量計矩形堰閘監測站設計
為實現一體化設計,將太陽能板、明渠流量計、控制箱、矩形堰閘集成在一個監測站內,采用太陽能板綠色電源,為動力系統和數據采集傳送等模塊提供電能。使用低功耗GPRS 無線遠傳系統,完成數據或指令的遠程傳送,在云服務器上建立數據中心,存儲明渠流量計基本數據、實時數據和控制數據,設置電腦和手機用戶訪問接口,實現堰閘的實時監測、智能運行等功能。無線通訊模塊、嵌入式控制板等封裝在控制盒內。矩形堰閘由支墩、安裝支架、法蘭、擋板、流量計等組成。矩形堰閘安裝在渠道上,矩形堰閘擋板豎直,安裝在渠道中軸線上,儀表探頭安裝在距離矩形堰閘板0. 5m 的位置。如圖1 所示。
2 試驗示范與應用
為驗證明渠流量計矩形堰閘量水精度,在四川省雙流區黃水鎮紅橋小區示范基地農田生態型排水溝開展試驗。示范點農田生態型排水溝渠長度約150m,溝頂寬1. 7m,溝深1. 0m,淤積深度0. 3m。考慮到溝渠內zui大流量大于40L /s、渠道內水的流態、能否形成自由流、堰口寬度超過了
圖1 明渠流量計矩形堰閘監測站設計布置1. 00m 等因素,根據現場改造的標準矩形堰b、B、p 值,上游溝渠寬度B = 1. 50m,堰口寬度b =1. 00m,液位的高度h = 0. 50m,堰壁的高度p =0. 20m,選用FX-OC-1. 5AAN-DCSPR0TSS1PL10-DBC 明渠流量計。

圖2 矩形堰構造
2. 1 明渠流量計精度分析本項目明渠流量計儀表是以超聲波技術與現代數字微處理技術相結合,專為野外應用而設計,
圖4 明渠流量計矩形堰閘現場效果
可全面實現無人值守、安裝簡單、性能穩定、精度高、內置GPRS 通訊模塊可直接與信息中心通訊,實現數據的無線遠距離傳輸,直接測量溝渠內水位高度。
超聲波傳感器根據安裝在農田生態排水溝渠上的矩形堰閘,測量堰閘內的水位,按照相應的水位—流量關系,自動測算出水位對應的流量。流通順暢的溝渠流量越大,液位越高; 流量越小,液位越低。流量與水位之間的對應關系,受溝渠內坡比降和表面的糙度影響。因此,在溝渠內安裝矩形堰閘,可產生節流作用,固定溝渠內流量與水位的對應關系。
在明渠流量計的正下方位置,通過人工用水尺觀測溝渠內水位的高低,作為人工觀測數據。在同一時刻獲取FX - OC - 1. 5AAN - DCSPR0TSS1PL10-DBC 明渠流量計水位自記數據。
從下述自記數據分析結果中可以看出,明渠流量計的數據與人工觀測的數據相對誤差在0 ~ 7. 5%范圍內,均在<10%的控制范圍內,表明FX-OC-1. 5AAN-DCSPR0TSS1PL10-DBC 明渠流量計自動測量的精度滿足要求。

2. 2 低功耗GPRS 無線遠傳系統( 堰閘遠程測控系統)
2. 2. 1 主要功能
為實現堰閘流量實時監測,發送數據至云端數據庫,借助開發的GPRS 低功耗后臺服務器( GPRS 無線板卡,安裝于阿里云服務器) ,與明渠流量計儀表組合,實現隨時訪問采集儀表的數據并上傳至后臺服務器,可視化呈現監測點實時及歷史數據。采用太陽能板綠色供電方式。
2. 2. 2 服務器平臺信息查詢
后臺服務器集成多款儀表為一體,同時可做微信、網頁的交互界面。上半部分為儀表所采集到的數據,下半部分為無線板卡配置的基本信息,右邊為服務器的設置界面( 包括啟動軟件、關閉軟件、參數設置、退出軟件等) 。服務器軟件可以接收到現場發送過來的水位信息,在屏幕上顯示并保存起來。如圖5 所示。

( 1) 明渠流量計采集信息: 本試驗儀表觀測上傳的液位值、瞬時流量、累積流量、板卡電壓及儀表安裝位置等信息。流量是由儀表計算而來,再上傳至后臺服務器。
( 2) GPRS 板卡參數設置: 當數據能上傳至后臺服務器的同時,GPRS 板卡的設置參數也會同步到后臺服務器。因此,可以在后臺服務器操作,修改板卡參數并勾選“允許下傳修改板卡參數”, 即可實現遠程修改板卡時間等參數。不可修改端口號、域名/IP、儀表類型和儀表地址。
( 3) 標準工作狀態: 由用戶自己確定每多少分鐘測量一次水位,測量完畢將水位值保存在主機中,同時上傳一次,如果遇到服務器無應答或者網絡狀態不理想,則等到下一次傳輸的時候再上傳。主機中可以存儲5 萬條測量數據。
( 4) 參數設置: 主機位采集間隔300s,預警位采集間隔10s,報警位采集間隔10s,正常上傳間隔300s,預警位上傳間隔10s,報警位上傳間隔10s,預警位6m,報警位9m。數據采集上傳間隔時間、報警時間均可設置修改。
( 5) 記錄查詢: 可對每款儀表的不同DTU 編號進行詳細查詢、數據表單備份; 也可對單獨一款儀表的數據進行備份( 可人工備份,系統也可自動備份) 、備份表單查詢( 備份過的文件可直接通過服務器進行查詢) 。


( 6) 服務器/App 權限: 此界面有三項功能:
①修改板卡的端口號及設置表單自動轉存( 注:為了防止后臺服務器由于接收的數據過多而運行緩慢,設置自動轉存數,當接收數據達到一定數量便會自動備份到電腦存儲盤并刪除服務器數據以提供更快的運行空間) ; ②使用后臺服務器的同時也可使用手機App 接收數據,可在此界面對手機App 的登錄用戶名及密碼進行設置管理( 注:使用手機App 的前提是后臺服務器必須開啟,因為手機App 只有訪問的權限) ; ③微信交互服務端口號: 當需要網址訪問或者微信訪問后臺服務器時,需將端口號設置成80。
( 7) 通訊判斷: 數據正常采集及上傳、數據異常( GPRS 數據上傳任務失敗) 。
2. 3 應用效果分析為了探究農田生態排水溝渠預處理系統在有堰閘運行管理模式下對農田面源污染物氮磷的去除效果,綜合監測數據分析,雨污收集池底泥中氨氮含量為9. 52mg /kg,總磷5679. 52mg /kg。該示范區通過工程建設預計年削減底泥污染物排放量指標為: COD 7. 0t /a; 氨氮1. 6t /a; 總磷1. 2t /a。農田溝渠污水回用率按45%計算,新增凈水能力7. 173 萬m3。
從服務器監測平臺采集數據分析,不同排水強度下生態排水溝渠受矩形堰閘的攔截影響,致使生態溝渠內水體流速降低,水位雍高,延長了水流的實際平均停留時間,增加了水流與預處理裝置、生物菌劑、植物充分接觸的時間,有效容積比得到提高。間接表明了污染物在生態溝渠系統內部的轉移輸送、停留時間及被降解的能力。2018年11 月9 日至12 月26 日的觀測數據表明:COD、氨氮、總磷進口濃度變化率分別為68. 42%、81. 81%、80. 85%; 出口濃度變化率分別為3 結語基于云服務模式下的無線遠程訪問明渠流量計矩形堰閘太陽能板綠色電源監測站,成功地在農田生態排水溝渠中得到運用,有效地解決了農田排水溝渠排水量自動監測水平低下、監測設備測量精度不高、性能不穩定、操作不便、功耗大等問題,實現了堰閘與云端的數據交換,監測的數據相對誤差在0 ~ 7. 5%范圍內,能較好地實現實時監測、智能運行,運維成本低,適合小型農田灌溉溝渠輸排水系統的**化計量。


安裝矩形堰閘的生態溝渠,水體流速降低,水流停留時間延長,水流在農田溝渠預處理構筑物和溝渠內與植物充分接觸,有效容積比得到提高,對污染物質起到了較好的截留凈化效果,對農田溝渠再生水質資源化利用工程的建設提供了一種新途徑。
上一條:國內儀器儀表行業2019年1-5月的經濟運行狀態分析
下一條:浮球液位計和浮球液位控制器、浮球液位開關三者之間的區別
- 相關文章
-
- 雷達液位計的作用 【2025-11-18】
- 雷達液位計使用注意事項 【2025-11-18】
- 雷達液位計安裝注意事項全解析 【2025-11-14】
- 雷達液位計工作原理及相關說明 【2025-11-14】
- 液位壓力變送器生產廠家 【2023-12-27】
- 渦輪流量計常見的四類故障與技巧解決方法 【2016-06-25】
- 靜壓式液位變送器生產廠家 【2023-12-17】
- 浮球液位變送器能用嗎 【2023-12-28】
- 法蘭液位變送器特點與應用 【2024-01-06】
- 靜壓液位變送器參數 【2023-12-15】








